1
/
of
3
NB
SMK6UUE NB 6mm Slide Bush Bushings Motion Linear Bearing
SMK6UUE NB 6mm Slide Bush Bushings Motion Linear Bearing
Regular price
$67.99 USD
Regular price
$104.00 USD
Sale price
$67.99 USD
Unit price
/
per
Couldn't load pickup availability
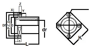
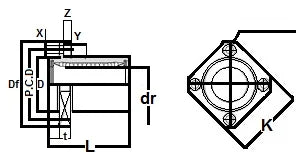
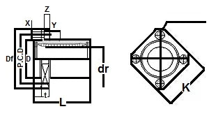
| SMK6UUE NB Square Flange With Pilot End Slide Bush Type Made in Japan:NB Linear Systems Nippon Bearing Linear Systems |
SMK6UUE NB Square Flange Type With Pilot End Slide Bush, The retainer material is steel, It is seals on both sides,series mainly used in the USA, NB brand (Nippon Bearing Linear Systems), Made in Japan.
|
| Major Dimensions | |||||||||
|---|---|---|---|---|---|---|---|---|---|
| dr | D | L | Df | K | t | P.C.D | X x Y x Z | ||
| mm | tolerance | mm | tolerance | ||||||
| 6 | 0-9 | 12 | 0-13 | 19 | 28 | 22 | 5 | 20 | 3.5 x 6 x 3.1 |
Share
