1
/
of
2
NB
SMSK20UUE NB Slide Bush Bushings Motion 20mm Linear Bearing
SMSK20UUE NB Slide Bush Bushings Motion 20mm Linear Bearing
Regular price
$209.99 USD
Regular price
$321.00 USD
Sale price
$209.99 USD
Unit price
/
per
Couldn't load pickup availability
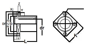
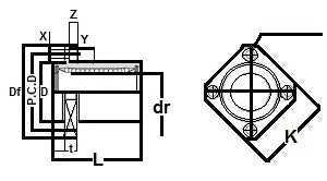
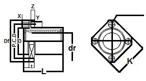
| SMSK20UUE NB Square Flange With Pilot End Type Anticorrosion Made in Japan:NB Linear Systems |
SMSK20UUE NB Square Flange With Pilot End Slide Bush Type, Bearing is anticorrosion, The retainer material is steel, It is seals on both sides, series mainly used in the USA, NB brand (Nippon Bearing Linear Systems), Made in Japan.
|
| Major Dimensions | |||||||||
|---|---|---|---|---|---|---|---|---|---|
| dr | D | L | Df | K | t | P.C.D | X x Y x Z | ||
| mm | tolerance | mm | tolerance | ||||||
| 20 | 0-10 | 32 | 0-19 | 42 | 54 | 42 | 8 | 43 | 5.5 x 9 x 5.1 |
Share
