1
/
de
2
NBK
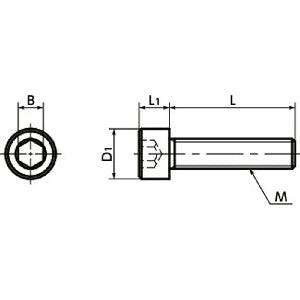
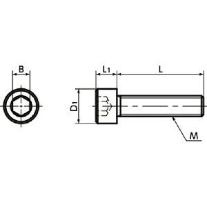
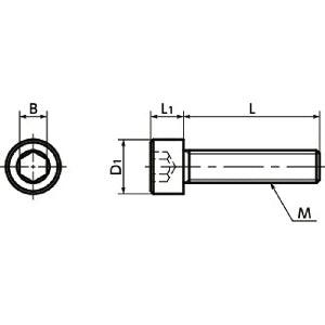
SNSMN-M3-6 NBK Hex Socket Head Cap Screws (Monel 400 equiv.)- Made in Japan
SNSMN-M3-6 NBK Hex Socket Head Cap Screws (Monel 400 equiv.)- Made in Japan
Prix habituel
$54.99 USD
Prix habituel
$84.00 USD
Prix promotionnel
$54.99 USD
Prix unitaire
/
par
Impossible de charger la disponibilité du service de retrait
SNSMN-M3-6 NBK Hex Socket Head Cap Screws (Monel 400 equiv.) Made in Japan One Screw |
Characteristics:
FPD production device/Semiconductor manufacturing device/Chemical plant/Offshore instrument Physical property:
|
Partager

