1
/
su
3
NB
SMSK20GUUE NB Slide Bush Bushings Motion 20mm Linear Bearing
SMSK20GUUE NB Slide Bush Bushings Motion 20mm Linear Bearing
Prezzo di listino
$169.99 USD
Prezzo di listino
$260.00 USD
Prezzo scontato
$169.99 USD
Prezzo unitario
/
per
Impossibile caricare la disponibilità di ritiro
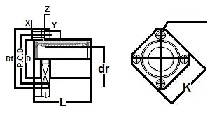
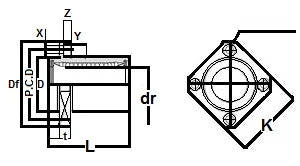
| SMSK20GUUE NB Square Flange With Pilot End Type Anticorrosion Made in Japan:NB Linear Systems |
SMSK20GUUE NB Square Flange With Pilot End Slide Bush Type, Bearing is anticorrosion, The retainer material is steel, It is seals on both sides, series mainly used in the USA, NB brand (Nippon Bearing Linear Systems), Made in Japan.
|
| Major Dimensions | |||||||||
|---|---|---|---|---|---|---|---|---|---|
| dr | D | L | Df | K | t | P.C.D | X x Y x Z | ||
| mm | tolerance | mm | tolerance | ||||||
| 20 | 0-10 | 32 | 0-19 | 42 | 54 | 42 | 8 | 43 | 5.5 x 9 x 5.1 |
Share
