1
/
の
3
VXB
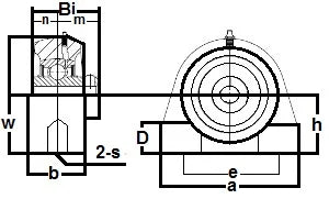
SSUCPAS210-31 Tapped Base Pillow Block 1 15/16 Mounted Bearing
SSUCPAS210-31 Tapped Base Pillow Block 1 15/16 Mounted Bearing
通常価格
$1,236.99 USD
通常価格
$1,893.00 USD
セール価格
$1,236.99 USD
単価
/
あたり
受取状況を読み込めませんでした
This item will be shipped within One Week Returns Subject to 15% restocking Fee |
SSUCPAS210-31 Stainless Steel Tapped Base Pillow Block Set Screw Locking 1 15/16" Inner Diameter Ball Bearing |
SSUCPAS210-31 Stainless Steel Tapped Base Pillow Block Ball Bearing, SSUCPAS210-31 is Set Screw Locking, bearing has solid base housing construction, bearing has wide inner ring, bearing is relubricatable unit with anti-rotation pin, bearing has supplied with water and wash resistant mobilgrease.
|
Share


