1
/
의
3
NB
SMK20GUUE NB 20mm Slide Bush Bushings Motion Linear Bearing
SMK20GUUE NB 20mm Slide Bush Bushings Motion Linear Bearing
정가
$90.99 USD
정가
$139.00 USD
할인가
$90.99 USD
단가
/
단위
픽업 사용 가능 여부를 로드할 수 없습니다.
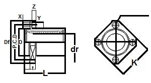
| SMK20GUUE NB Square Flange With Pilot End Type Made in Japan:NB Linear Systems Nippon Bearing Linear Systems |
SMK20GUUE NB Square Flange With Pilot End Slide Bush Type, The retainer material is resin, It is seals on both sides, series mainly used in the USA, NB brand (Nippon Bearing Linear Systems), Made in Japan.
|
| Major Dimensions | |||||||||
|---|---|---|---|---|---|---|---|---|---|
| dr | D | L | Df | K | t | P.C.D | X x Y x Z | ||
| mm | tolerance | mm | tolerance | ||||||
| 20 | 0-10 | 32 | 0-19 | 42 | 54 | 42 | 8 | 43 | 5.5 x 9 x 5.1 |
Share
