1
/
de
4
NB
KBS10 NB Bearing 10mm Ball Bushings Linear Motion Bearing
KBS10 NB Bearing 10mm Ball Bushings Linear Motion Bearing
Preço normal
$54.99 USD
Preço normal
$84.00 USD
Preço promocional
$54.99 USD
Preço unitário
/
por
Não foi possível carregar a disponibilidade de retirada.
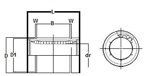
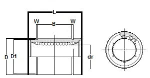
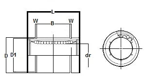
| KBS10 NB Standard Type:Slide Unit Made in Japan:NB Linear Systems |
KBS10 NB Standard Type Bearing, measures an inner diameter of 10mm, bearing is anticorrosion, Series mainly used in the USA, NB brand (Nippon Bearing Linear Systems), made in Japan.
|
| Major Dimensions | ||||||||||
|---|---|---|---|---|---|---|---|---|---|---|
| dr | D | L | B | W | D1 | |||||
| mm | tolerance | mm | tolerance | mm | tolerance | mm | tolerance | |||
| 10 | 0-8 | 19 | 0-9 | 29 | 0-0.2 | 22 | 0-0.2 | 1.3 | 18 | |
Share
