1
/
de
4
NB
KBS4G NB Bearing 4mm Ball Bushings Linear Motion Bearing
KBS4G NB Bearing 4mm Ball Bushings Linear Motion Bearing
Preço normal
$57.99 USD
Preço normal
$89.00 USD
Preço promocional
$57.99 USD
Preço unitário
/
por
Não foi possível carregar a disponibilidade de retirada.
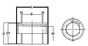
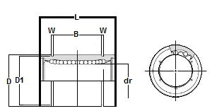
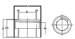
KBS4G NB Standard Type:Slide Unit Made in Japan:NB Linear Systems |
KBS4G NB Standard Type Bearing, measures an inner diameter of 4mm, bearing is anticorrosion, retain material is resin, Series mainly used in the USA, NB brand (Nippon Bearing Linear Systems), made in Japan.
|
Major Dimensions | |||||
---|---|---|---|---|---|
dr | D | L | |||
mm | tolerance | mm | tolerance | mm | tolerance |
4 | 0-8 | 8 | 0-8 | 12 | 0-0.12 |
Share



