1
/
av
3
NB
SMD20GUU NB 20mm Pillow Block Unit Motion Linear Bearing
SMD20GUU NB 20mm Pillow Block Unit Motion Linear Bearing
Ordinarie pris
$149.99 USD
Ordinarie pris
$229.00 USD
Försäljningspris
$149.99 USD
Enhetspris
/
per
Det gick inte att ladda hämtningstillgänglighet
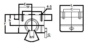
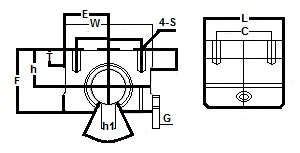
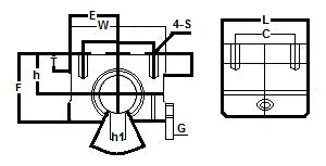
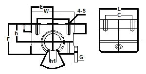
| SMD20GUU NB Open Block:Slide Unit With Clearance Adjustable Type Made in Japan:NB Linear Systems |
SMD20GUU NB Open Block With Clearance Adjustable Block Slide Unit, The inner diameter is 20mm, The retainer material is resin, Series mainly used in the USA, NB brand (Nippon Bearing Linear Systems), made in Japan.
|
| Inner Contact Diameter | Outer Dimensions | Mounting Dimensions | |||||||||
|---|---|---|---|---|---|---|---|---|---|---|---|
| h | E | W | L | F | T | G | h1 | B | C | S | |
| 20 | 33 | 27 | 54 | 50 | 39 | 11 | 7 | 10 | 40 | 35 | M6 |
Share
