1
/
av
3
NB
SMK20UUE NB 20mm Slide Bush Bushings Motion Linear Bearing
SMK20UUE NB 20mm Slide Bush Bushings Motion Linear Bearing
Ordinarie pris
$121.99 USD
Ordinarie pris
$187.00 USD
Försäljningspris
$121.99 USD
Enhetspris
/
per
Det gick inte att ladda hämtningstillgänglighet
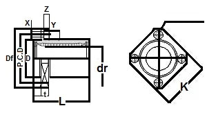
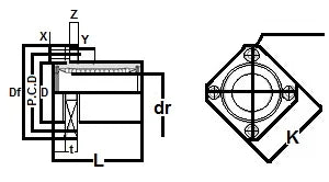
| SMK20UUE NB Square Flange With Pilot End Type Made in Japan:NB Linear Systems Nippon Bearing Linear Systems |
SMK20UUE NB Square Flange With Pilot End Slide Bush Type, The retainer material is steel, It is seals on both sides, series mainly used in the USA, NB brand (Nippon Bearing Linear Systems), Made in Japan.
|
| Major Dimensions | |||||||||
|---|---|---|---|---|---|---|---|---|---|
| dr | D | L | Df | K | t | P.C.D | X x Y x Z | ||
| mm | tolerance | mm | tolerance | ||||||
| 20 | 0-10 | 32 | 0-19 | 42 | 54 | 42 | 8 | 43 | 5.5 x 9 x 5.1 |
Share
