1
/
av
3
NB
SMK50UUE NB 50mm Slide Bush Bushings Motion Linear Bearing
SMK50UUE NB 50mm Slide Bush Bushings Motion Linear Bearing
Ordinarie pris
$615.00 USD
Ordinarie pris
$1,638.00 USD
Försäljningspris
$615.00 USD
Enhetspris
/
per
Det gick inte att ladda hämtningstillgänglighet
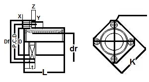
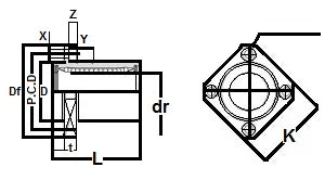
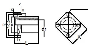
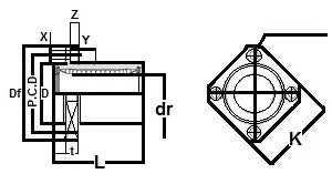
| SMK50UUE NB Square Flange With Pilot End Type Made in Japan:NB Linear Systems Nippon Bearing Linear Systems |
SMK50UUE NB Square Flange With Pilot End Type, The retainer material is steel, It is seals on both sides, series mainly used in the USA, NB brand (Nippon Bearing Linear Systems), Made in Japan.
|
| Major Dimensions | |||||||||
|---|---|---|---|---|---|---|---|---|---|
| dr | D | L | Df | K | t | P.C.D | X x Y x Z | ||
| mm | tolerance | mm | tolerance | ||||||
| 50 | 0-12 | 80 | 0-22 | 100 | 116 | 92 | 13 | 98 | 9 x 14 x 8.1 |
Share
