1
/
av
3
NB
SMSK25UUE NB Slide Bush Bushings Motion 25mm Linear Bearing
SMSK25UUE NB Slide Bush Bushings Motion 25mm Linear Bearing
Ordinarie pris
$295.99 USD
Ordinarie pris
$453.00 USD
Försäljningspris
$295.99 USD
Enhetspris
/
per
Det gick inte att ladda hämtningstillgänglighet
| SMSK25UUE NB Square Flange With Pilot End Type Anticorrosion Made in Japan:NB Linear Systems |
SMSK25UUE NB Square Flange With Pilot End Slide Bush Type, Bearing is anticorrosion, The retainer material is steel,It is seals on both sides, series mainly used in the USA, NB brand (Nippon Bearing Linear Systems), Made in Japan.
|
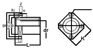
| Major Dimensions | |||||||||
|---|---|---|---|---|---|---|---|---|---|
| dr | D | L | Df | K | t | P.C.D | X x Y x Z | ||
| mm | tolerance | mm | tolerance | ||||||
| 25 | 0-10 | 40 | 0-19 | 59 | 62 | 50 | 8 | 51 | 5.5 x 9 x 5.1 |
Share
